<<ИД2Производитель: Константа / АКЗ-159 - Официальный дилер
ПО ЗАПРОСУ
Толщинометрия покрытий общего и специального назначения (лакокрасочные, пластиковые, эмалевые, металлические напыляемые, противопожарные и т.д.) на квазиплоских и цилиндрических изделиях со средней шероховатостью поверхности.
- преобразователь с подпружиненным стандартным пластиковым или малогабаритным металлическим корпусом с V–образным пропилом для позиционирования на цилиндрических или сферических изделиях;
- расширенный диапазон контролируемых толщин (до 3 мм);
- повышенная износостойкость сердечника позволяет проводить измерения со сканированием поверхности для обеспечения большей достоверности результатов измерений.
Преобразователи серии ИД
Преобразователи предназначены для измерения толщины неферромагнитных (гальванических, лакокрасочных, порошковых, пластиковых, мастичных и др.) покрытий на ферромагнитных основаниях, а так же для измерения толщины электролитического никеля на неферромагнитных основаниях.
| Тип | Диапазон измерения толщин, мм | Основная погрешность измерения по диапазонам толщин | Мин. диаметр основания, Øн/Øв,мм | Диаметр зоны измерения Øм,мм | Габариты, мм |
| | 0-0,3 | ≤ ± (0,01T+1) мкм | 1/4,5 | <3 | Ø10×120 |
| Ø20х127 | |||||
| 0-0,3 | ≤ ± (0,01T+1) мкм | 1/4,5 | <3 | Ø10×70 | |
| 0-0,3 | ≤ ± (0,01T+1) мкм | 1/4,5 | <3 | Ø10×70 | |
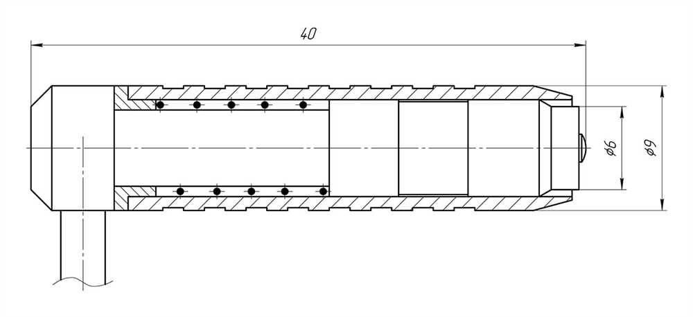
| ИД2 | 0-3 | 0–2000 мкм: ≤± (0,015T+1) мкм 2000–3000 мкм: ≤±0,02T | 1,5/9 | 6 | Ø20×90 |
| Ø9×65 | |||||
| 0-6 | 0–5 мм: ≤±(0,015T+0,005) мм 5–6 мм: ≤±0,02T | 2,5/10,5 | 8 | Ø20×90 | |
| 0-8 | 0–6 мм: ≤±(0,015T +0,01) мм 6–8 мм: ≤±0,02T | 5/18,5 | 12 | Ø25×90 | |
| 0-10 | 1–8 мм: ≤± (0,015T+0,01) мм 8–10 мм: ≤±0,02T | 7/57 | 17 | Ø25×90 |
Фотографии



На этой странице вы можете купить ИД2 недорого по цене завода-изготовителя у официального дилера на территории Перми, Екатеринбурга, Уфы, Казани, Ижевска, Челябинска и других регионов, компании «АКЗ Оборудование». Данное оборудование и вся продукция, выпускаемая под брендом Константа, сочетает в себе низкую цену и высокие эксплуатационные характеристики. Покупая ИД2 у нас, вы получаете официальную гарантию, предоставляемую производителем, и гарантийное сервисное обслуживание дилера в вашем регионе.
Не откладывайте на завтра! Приобретайте фирменное и качественное оборудование Константа только у официального поставщика по низкой цене. Воспользуйтесь формой ниже, выберите удобный вариант для связи с нашими менеджерами.
АКЗ-159.РУ | «АКЗ Оборудование»
г. Пермь
ул. Промышленная, 117
Тел./факс: +7 (342) 283-62-22 | E-mail: 3810531@mail.ru